High-Speed SerDes IP
Filter
Compare
119
IP
from
25
vendors
(1
-
10)
-
64G High-speed SerDes
- The 64G SerDes PHY is a highly configurable PHY capable of supporting speeds up to 64Gbps within a single lane
- The PHY has been configured to support 64G PAM-4 and NRZ specifically, but the PHY itself can be configured to support a wide range of HS SerDes protocols through changes to the PCS layer and register settings
-
High-Speed LVDS (SERDES) Transceiver
- The LVDS_SERDES IP Core is a high-speed LVDS transmitter / receiver pair suitable for a wide range of serial interface applications.
- The design is comprised of an independent transmitter and receiver that may be used separately or together as a single transceiver.
-
32Gbps SerDes PHY in GF 22nm
- This 32Gbps SerDes PHY is implemented in GlobalFoundries 22FDX CMOS technology and provides a high-performance, protocol-agnostic serial interface for advanced mixed-signal and high-speed digital SoCs.
- The PHY is architected as a modular design consisting of a low-jitter clock multiplier, a half-rate transmitter with digitally programmable feed-forward equalization, and a configurable CTLE-based receiver with digital clock-and-data recovery, supporting both 16 Gbps and 32 Gbps operation.
-
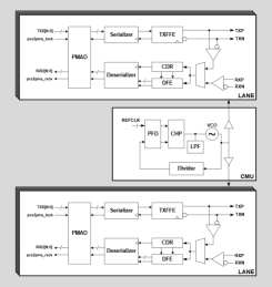
Ultra-Low Latency 32Gbps SerDes IP in TSMC 12nm FFC
- Modular architecture supporting x1 to x16 lanes with a single CMU
- Lane-based PLL architecture supporting flexible, independent data rates from 1.25 to 32Gbps
- Ultra-low latency 2/4/8-bit parallel interface mode for lowest possible latency
-
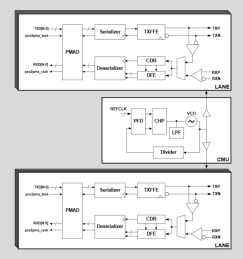
Ultra-Low Latency 32Gbps SerDes IP in TSMC 22nm ULP
- Modular architecture supporting x1 to x16 lanes with a single CMU
- Lane-based PLL architecture supporting flexible, independent data rates from 1.25 to 32Gbps
- Ultra-low latency 2/4/8-bit parallel interface mode for lowest possible latency
-
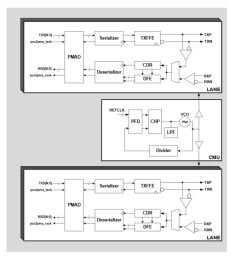
32Gbps SerDes IP in TSMC 12nm FFC
- Modular architecture supporting x1 to x16 lanes with a single CMU
- Lane-based PLL architecture supporting flexible, independent data rates from 1.25 to 32Gbps
- Configurable low latency parallel data interface for optimal system performance
-
32Gbps SerDes IP in TSMC 22nm ULP
- Modular architecture supporting x1 to x16 lanes with a single CMU
- Lane-based PLL architecture supporting flexible, independent data rates from 1.25 to 32Gbps
- Configurable low latency parallel data interface for optimal system performance
-
100G SerDes PAM4 PHY
- The SERDES PHY IP delivers a high-performance, low-power solution for high-speed interfaces up to 112Gbps.
- It supports diverse applications including AI accelerators, data centers, 5G infrastructure, and automotive SoCs.
-
SerDes
- High-speed SerDes with ultra-low-power consumption
- Industry’s fastest die to die communications
- Multiprotocol SerDes: HMC, PCIe, SATA, SAS, and USB and more
- High lane count with multiple data rates supported