Ultra Low-Power High-Performance AFE on 12nm

Overview

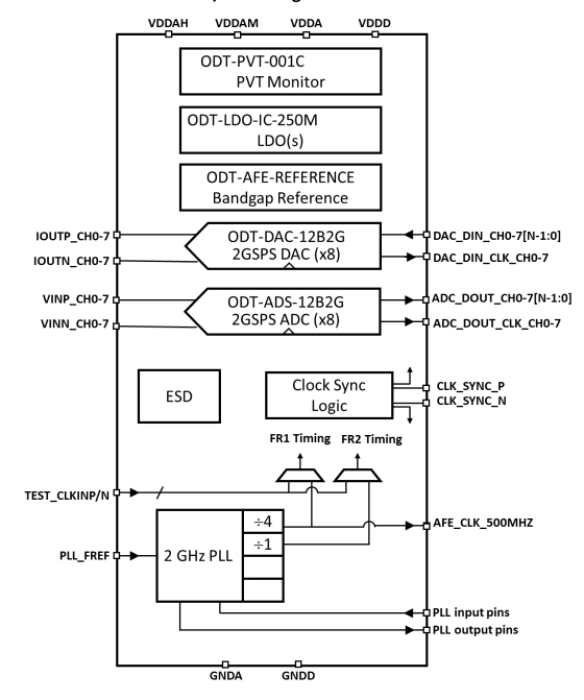
The ODT-AFE-4T4R-12nm is an ultra-high-performance AFE designed in a 12nm CMOS process. The AFE includes 2 IQ Pairs of Tx and Rx for the FR2 band, and combines them with 2 additional IQ Pairs of Tx and Rx for the FR1 band clocked at a lower sample rate. This is comprised of eight 12-bit 2GSPS ADCs, and 8 12-bit 2GSPS DACs for 4 total IQ pairs for Tx and Rx. This AFE also includes multiple capless LDOs, a voltage/current reference, and a low jitter 2 GHz PLL from a 3rd party supplier.

The ADC and DAC architecture is optimized to maximize performance while minimizing power and area consumption.

To maximize SNR, the AFE includes an ultra-low-jitter clock distribution network.

Key Features

  • Ultra high-performance AFE
  • FR1/FR2- I/Q ADCs 12-bit 2GSPS
  • FR1/FR2 – I/Q DAC 12-bit 2GSPS
  • Capless LDOs
  • Voltage/current reference
  • Low jitter 2 GHz PLL
  • PLL bypass mode
  • ADC Clock distribution network
  • ADC Clock divider synchronization logic
  • Integrated ESD and bumps

Block Diagram

Ultra Low-Power High-Performance AFE on 12nm Block Diagram

Applications

  • General purpose software defined radio
  • High speed data acquisition systems
  • Cellular base station
  • Broadband communications
  • High-speed medical imaging
  • Wideband satellite receiver

Deliverables

  • Datasheet
  • Hard Macro (GDSII)
  • Characterization Report (as applicable)
  • Abstract View (LEF) for top level connectivity
  • Spectre Netlist (as needed upon request)
  • Behavioral Model
  • Integration and Customer Support

Technical Specifications

Short description
Ultra Low-Power High-Performance AFE on 12nm
Vendor
Vendor Name
Foundry, Node
12nm
Maturity
In Development
Availability
Contact Vendor
TSMC
Pre-Silicon: 12nm
×
Semiconductor IP