Vendor: AionChip Technologies Category: Multi-Protocol PHY

32Gbps SerDes IP in TSMC 22nm ULP

The relentless demand for higher data throughput in data centers and high-performance computing (HPC) systems drives the need for…

TSMC 22nm ULP View all specifications

Overview

The relentless demand for higher data throughput in data centers and high-performance computing (HPC) systems drives the need for ultra-high-speed signaling with minimal latency. AionChip’s Argos SerDes IP is purpose-built to meet these demands, delivering exceptional signaling bandwidth with industry-leading latency performance.

Leveraging a proven high-speed SerDes architecture, Argos SerDes achieves an optimal balance of latency, power, and area efficiency—without compromising on performance. Its flexible multi-rate design supports data rates from 1.25Gbps to 32Gbps, ensuring full backward compatibility and seamless integration into next- generation systems.

Key features

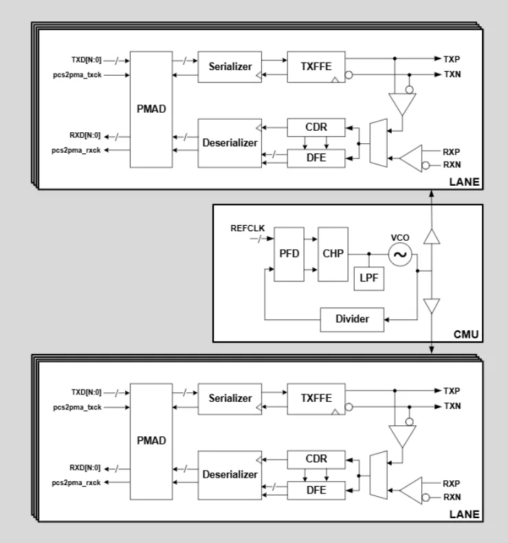
  • Modular architecture supporting x1 to x16 lanes with a single CMU
  • Lane-based PLL architecture supporting flexible, independent data rates from 1.25 to 32Gbps
  • Configurable low latency parallel data interface for optimal system performance
  • Broad protocol compatibility including PCIe Gen1–5, Ethernet (1G/10G/25G/50G/100G), JESD204B/C, CPRI, and many other high-speed serial standards
  • Adaptive RX EQ combining CTLE + 10-Tap DFE
  • Programmable 4-Tap TX FFE with output swing control
  • Non-intrusive Eye monitor for real-time signal quality observation
  • Comprehensive loopback modes: TX-to-RX, RX- to-TX, Line-side and System-side
  • Low-Power Standby State support for energy- efficient operation
  • Built-in test and debug features including PRBS Generators and Checkers, AC-JTAG (1149.6), analog debug port

Block Diagram

What’s Included?

  • Standard integration views: LEF abstract view, .LIB timing view, Verilog model, DRC, LVS, ANT reports, and GDSII
  • Synthesizable soft RTL with SDC and synthesis script
  • Documentations: Datasheet, Integration guide, and Programming guide

Files

Note: some files may require an NDA depending on provider policy.

Silicon Options

Foundry Node Process Maturity
TSMC 22nm ULP

Specifications

Identity

Part Number
32Gbps SerDes IP in TSMC 22nm ULP
Vendor
AionChip Technologies

Provider

AionChip Technologies
HQ: Taiwan R.O.C.
AionChip specializes in cutting-edge high-speed connectivity technologies, crucial for the AI era’s advanced computing needs. Our innovations deliver breakthrough data connectivity performance essential for the advancement of high performance computing, deep learning, and cloud data center efficiency.

Learn more about Multi-Protocol PHY IP core

How a 16Gbps Multi-link, Multi-protocol SerDes PHY Can Transform Datacenter Connectivity

Increasingly, more of the focus on mobile has centered around cloud datacenters and the networking to get the data back and forth between these datacenters and the mobile device. Functions like voice recognition and mapping depend on the ability to split the functionality between the smartphone, for local processing like encryption and compression, and the back end, where a large number of servers can do the heavier lifting before returning the results.

One PHY, Zero Tradeoffs: Multi-Protocol PHY for Edge AI Interface Consolidation

The Cadence 10G multi-protocol PHY was architected to address this exact challenge. Designed to scale across multiple process nodes, it consolidates PCI Express (PCIe), USB, DisplayPort, Ethernet, and other interfaces into a single, compact, silicon-efficient block. What sets it apart is simultaneous multi-protocol support, which enables multiple data paths without duplicating hardware, requiring extra board connectors, or paying the area and power penalty of separate IP blocks.

Frequently asked questions about Multi-Protocol PHY IP cores

What is 32Gbps SerDes IP in TSMC 22nm ULP?

32Gbps SerDes IP in TSMC 22nm ULP is a Multi-Protocol PHY IP core from AionChip Technologies listed on Semi IP Hub. It is listed with support for tsmc.

How should engineers evaluate this Multi-Protocol PHY?

Engineers should review the overview, key features, supported foundries and nodes, maturity, deliverables, and provider information before shortlisting this Multi-Protocol PHY IP.

Can this semiconductor IP be compared with similar products?

Yes. Buyers can compare this product with similar semiconductor IP cores or IP families based on category, provider, process options, and structured technical specifications.

×
Semiconductor IP