Vendor: T2M GmbH Category: Hash / MAC

Secure Hash Algorithm 256 IP Core

A universal solution that effectively accelerates the SHA2-256 hash function conforming with FIPS PUB 180-4 is the SHA2-256 bridg…

Overview

A universal solution that effectively accelerates the SHA2-256 hash function conforming with FIPS PUB 180-4 is the SHA2-256 bridge to APB, AHB, and AXI bus. It has two modes for computing message digests: 256-bit and 224-bit. A message length of up to 264 +/- 1 bit may be entered. It also natively supports the SHA2-256 HMAC (Keyed-Hash Message Authentication Code), a cryptographic function defined in RFC 2104. This depends on the core settings. This IP is appropriate for secure communication in general as well as for verifying data integrity and authenticity in digital signature methods. It may also be applied to speed up calculations related to cryptocurrencies.

Key features

  • FIPS PUB 180-4 compliant SHA2-256 function
  • RFC 2104 compliant HMAC mode native support
  • SHA2 224 and 256 bit modes support
  • Secure storage for precomputed HMAC keys
  • Hash/HMAC context swapping
  • Internal, automatic padding module
  • Binary message resolution support
  • Flexible data read/write modes
  • Software driver with OpenSSL/MbedTLS interface ready
  • Available system interface wrappers:
  • AMBA – APB / AHB / AXI Bus
  • Altera Avalon Bus
  • Xilinx OPB Bus

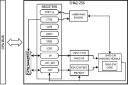
Block Diagram

Applications

  • Digital signature
  • Data integrity
  • Key derivation
  • TLS/SSH/PGP IPsec communication

What’s Included?

  • Source code:
  • VERILOG test bench environment
  • Technical documentation
  • Synthesis scripts
  • Example application
  • Technical support

Files

Note: some files may require an NDA depending on provider policy.

Specifications

Identity

Part Number
SHA2-256 IP Core
Vendor
T2M GmbH

Provider

T2M GmbH
T2M GmbH is the leading Global Technology Company supplying state of the art complex semiconductor connectivity IPs and KGDs, enabling the creation of complex connected devices for Mobile, IoT and Wearable markets. T2M's unique SoC White Box IPs are the design database of mass production RF connectivity chips supporting standards including Wifi, BT, BLE, Zigbee, NFC, LTE, GSM, GNS. They are available in source code as well as KGD for SIP / modules. With offices in USA, Europe, China, Taiwan, South Korea, Japan, Singapore and India, T2M’s highly experienced team provides local support, accelerating product development and Time 2 Market.

Learn more about Hash / MAC IP core

The Challenge of Automotive Hardware Security Deployment

A complete reinvention of the automotive industry is currently underway. Autonomous driving, connected vehicles, and the electrification of the powertrain all represent a once-in-a-generation shift in the manufacturing process.

Embracing a More Secure Era with TLS 1.3

TLS 1.3 offers attractive speed and security improvement benefits that are hard to ignore. The handshake phase was sped up by removing one or more roundtrips (back and forth messaging between client and server) in TLS 1.3 – with “or more” meaning that for certain cases, roundtrips can be entirely eliminated (0-RTT).

Standardized PUF-based Solution for Device eID

In this column, after a background introduction, we will first discuss IEEE 802.1AR standard on secure device identity. Next, we’ll assert PUF is an enabling solution for the device eID. Third, we will discuss PUF related international standards. Fourth, we will present a short tutorial on PUFiot. Fifth, we will assert that PUFiot is an ideal Device eID with wide applications. Finally, we will draw a conclusion on the future trend of Device eID development.

Implementing Ultra Low Latency Data Center Services with Programmable Logic

Data centers require many low-level network services to implement high-level applications. Key-Value Store (KVS) is a critical service that associates values with keys and allows machines to share these associations over a network. Most existing KVS systems run in software and scale out by running parallel processes on multiple microprocessor cores to increase throughput.

Security in vehicular systems

With the advent of IoT and increasingly interconnected and autonomous nature of a vehicle’s control modules, there has been an exponential increase in V2V, V2X and inter vehicular communications. This in turn increases the attack surface for hackers which demands state-of-art security features in modern automotive microcontrollers, moreover safety and security go hand in hand.

Frequently asked questions about Hash / MAC IP cores

What is Secure Hash Algorithm 256 IP Core?

Secure Hash Algorithm 256 IP Core is a Hash / MAC IP core from T2M GmbH listed on Semi IP Hub.

How should engineers evaluate this Hash / MAC?

Engineers should review the overview, key features, supported foundries and nodes, maturity, deliverables, and provider information before shortlisting this Hash / MAC IP.

Can this semiconductor IP be compared with similar products?

Yes. Buyers can compare this product with similar semiconductor IP cores or IP families based on category, provider, process options, and structured technical specifications.

×
Semiconductor IP