Vendor: VeriSilicon Microelectronics (Shanghai) Co., Ltd. Category: Bluetooth

Dual-mode Bluetooth RF IP

Dual-mode Bluetooth RF IP is a 2.4 GHz ISM band RF transceiver IP designed for Bluetooth dual-mode applications.

GlobalFoundries 22nm FDX Silicon Proven View all specifications

Overview

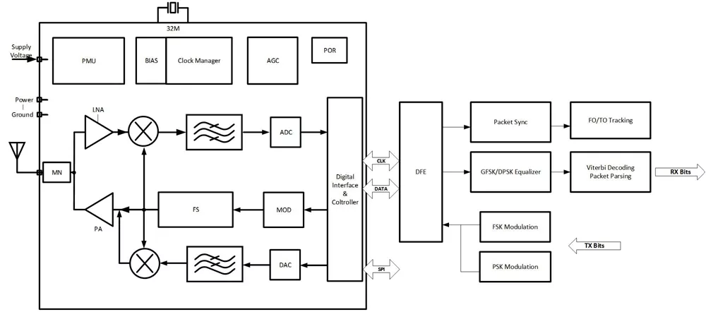
Dual-mode Bluetooth RF IP is a 2.4 GHz ISM band RF transceiver IP designed for Bluetooth dual-mode applications. It is compliant with the Bluetooth specification (Bluetooth 5.3), and supports BR, EDR, and BLE. This IP is implemented using the FD-SOI 22nm process, rendering good performance and low power dissipation. It exposes a simple parallel digital interface to baseband modem for easy integration. A slave Serial Peripheral Interface (SPI) is used for connection to the baseband or external MCU. 

Key features

  • Process Technology: GLOBALFOUNDRIES 22nmFDX
  • Supply voltage: 1.5 ~1.8v
  • Operating temperature: -40°C to 85°C
  • Support 6 modes including BT BR/EDR2M/EDR3M and BLE 1M/2M, Coded PHY S2/S8
  • Compatible with Bluetooth2.1-TS RF spec and BLE5-TS RFPHY Specification 
  • TX output power up to 10dBm in BLE modes
  • Integrate 32MHz X0 and PLL for sampling clock
  • Sophisticated detector integrated for excellent Rx performance

Block Diagram

What’s Included?

  • Design Kit & Tape-out Kit
  • IP Datasheet and Application

Files

Note: some files may require an NDA depending on provider policy.

Silicon Options

Foundry Node Process Maturity
GlobalFoundries 22nm FDX Silicon Proven

Specifications

Identity

Part Number
Dual-mode Bluetooth RF IP
Vendor
VeriSilicon Microelectronics (Shanghai) Co., Ltd.

Provider

VeriSilicon Microelectronics (Shanghai) Co., Ltd.
HQ: USA
VeriSilicon Microelectronics (Shanghai) Co., Ltd. (VeriSilicon, 688521.SH) is committed to providing customers with platform-based, all-round, one-stop custom silicon services and semiconductor IP licensing services leveraging its in-house semiconductor IP. Under the unique "Silicon Platform as a Service" (SiPaaS) business model, depending on the comprehensive IP portfolio, VeriSilicon can create silicon products from definition to test and package in a short period of time, and provides high performance and cost-efficient semiconductor alternative products for fabless, IDM, system vendors (OEM/ODM), large internet companies and cloud service provider, etc. VeriSilicon's business covers consumer electronics, automotive electronics, computer and peripheral, industry, data processing, Internet of Things (IoT) and other applications. VeriSilicon presents a variety of customized silicon solutions, including high-definition video, high-definition audio and voice, in-vehicle infotainment, video surveillance, IoT connectivity, smart wearable, high-end application processor, video transcoding acceleration and intelligent pixel processing, etc. In addition, VeriSilicon has six types of in-house processor IPs, namely GPU IP, NPU IP, VPU IP, DSP IP, ISP IP and Display Processor IP, as well as more than 1,400 analog and mixed signal IPs and RF IPs. Founded in 2001 and headquartered in Shanghai, China, VeriSilicon has 7 design and R&D centers in China and the United States, as well as 11 sales and customer service offices worldwide. VeriSilicon currently has more than 1,200 employees.

Learn more about Bluetooth IP core

HDT Bluetooth: the Next Step in High Quality Audio Streaming

Wireless audio (wireless earbuds, headphones and speakers) introduced us to a completely new level of listening convenience and freedom, prompting the rapid growth we are already seeing in this consumer segment (30% CAGR for wireless earbuds and 14% for wireless headphones). Now the race is on to further improve audio quality and capability in these devices.

Three Major Inflection Points for Sourcing Bluetooth Intellectual Property

Synopsys is now shipping support for Bluetooth® 5.4, the latest specification from the Bluetooth SIG (Special Interest Group). The enhancements in Bluetooth 5.4 will open additional markets and use cases. This is one of the many inflection points in the Bluetooth Low Energy market that will be discussed in this paper.

Frequently asked questions about Bluetooth IP cores

What is Dual-mode Bluetooth RF IP?

Dual-mode Bluetooth RF IP is a Bluetooth IP core from VeriSilicon Microelectronics (Shanghai) Co., Ltd. listed on Semi IP Hub. It is listed with support for globalfoundries Silicon Proven.

How should engineers evaluate this Bluetooth?

Engineers should review the overview, key features, supported foundries and nodes, maturity, deliverables, and provider information before shortlisting this Bluetooth IP.

Can this semiconductor IP be compared with similar products?

Yes. Buyers can compare this product with similar semiconductor IP cores or IP families based on category, provider, process options, and structured technical specifications.

×
Semiconductor IP