Vendor: EnSilica Category: IEEE 802.15.4

APB peripheral implementing the functionality of the ETSI TS 102613 V7.9.0 (2011-03) MAC Layer

The eSi-SWP MAC is an APB peripheral and implements the functionality of the ETSI TS 102 613 V7.9.0 (2011-03) MAC Layer.

Overview

The eSi-SWP MAC is an APB peripheral and implements the functionality of the ETSI TS 102 613 V7.9.0 (2011-03) MAC Layer.

Key features

  • The LLL (Logical Link Layer) of the SWP protocol will be implemented in software. The SWP
  • HW supports the following features:
    • Independent transmit and receive FIFOs.
    • Numerous interrupt flags to provide state information for implementation for full SWP
  • protocol in software.
    • Optional CRC and bit stuffing functionality.
    • NRZ-L data receiver for receiving data from the UICC.
    • PWM bit coding for transmitting data to UICC.
    • Fully synchronous design supporting asynchronous baud clock for transmit data.
    • AMBA 3 APB slave interface.

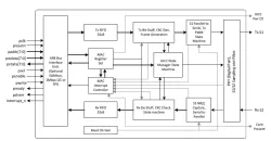
Block Diagram

Files

Note: some files may require an NDA depending on provider policy.

Specifications

Identity

Part Number
eSi-SWP MAC
Vendor
EnSilica

Provider

EnSilica
HQ: UK
EnSilica is a leading fabless design house focused on custom ASIC design and supply for OEMs and system houses, and IC design services for companies with their own design teams. The company has world-class expertise in supplying custom analog, mixed signal and digital IC’s to its international customers in the automotive, industrial, healthcare and consumer markets. The company also offers a broad portfolio of core IP covering cryptography, Radar and communications systems. EnSilica has a track record in delivering high quality solutions to demanding industry standards.

Learn more about IEEE 802.15.4 IP core

Utilizing UWB in ultra-low power ZigBee wireless sensor nodes

In this article, we discuss some of the key challenges associated to the design of UWB transmitters. We further present the first reported transmitter complying with the new 802.15.4a standard, which has been implemented in standard 90 nm CMOS technology and shows a record low-power consumption of 1 mW for a net data rate of 0.85 Mbps.

ZigBee SoCs provide cost-effective solutions

In a near future, our homes and workplaces will have wireless networks that control and monitor daily tasks autonomously or on command enhancing our comfort and safety. Several of these networks will be based on the ZigBee wireless technology and the unde

UWB, Digital Keys, and the Quest for Greater Range

Ultra-Wideband (UWB) technology is rapidly becoming a household name, and for good reason. This isn’t just another wireless standard, it’s a game-changer for how we interact with the world around us.

Frequently asked questions about IEEE 802.15.4 IP cores

What is APB peripheral implementing the functionality of the ETSI TS 102613 V7.9.0 (2011-03) MAC Layer?

APB peripheral implementing the functionality of the ETSI TS 102613 V7.9.0 (2011-03) MAC Layer is a IEEE 802.15.4 IP core from EnSilica listed on Semi IP Hub.

How should engineers evaluate this IEEE 802.15.4?

Engineers should review the overview, key features, supported foundries and nodes, maturity, deliverables, and provider information before shortlisting this IEEE 802.15.4 IP.

Can this semiconductor IP be compared with similar products?

Yes. Buyers can compare this product with similar semiconductor IP cores or IP families based on category, provider, process options, and structured technical specifications.

×
Semiconductor IP