Vendor: Omni Design Technologies, Inc. Category: Analog Front End

Ultra Low-Power High-Performance AFE on GF 22FDX

The ODT-AFE-2T2R-GF22FDX is an ultra-highperformance AFE designed in a Global Foundries 22nm process.

GlobalFoundries 22nm FDX View all specifications

Overview

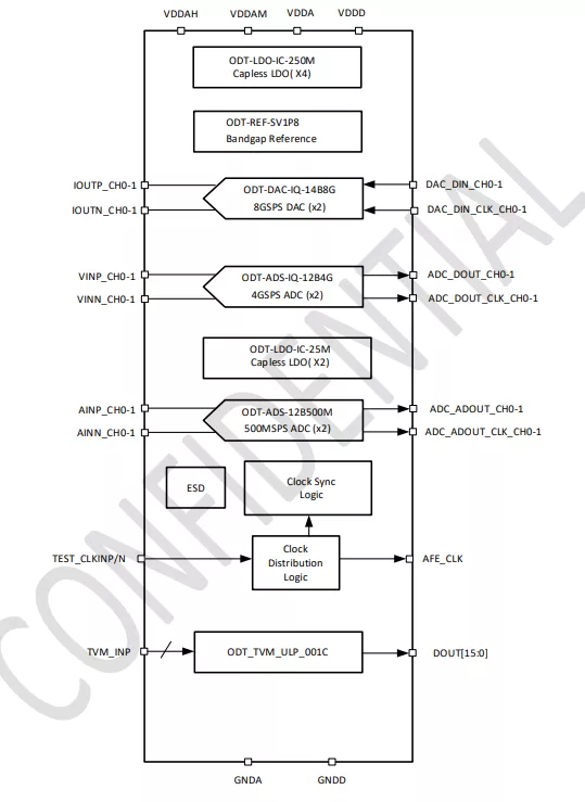
The ODT-AFE-2T2R-GF22FDX is an ultra-highperformance AFE designed in a Global Foundries 22nm process. The AFE includes two 12-bit, 4GSPS I/Q ADC pairs, two 14-bit, 8GSPS I/Q DAC pairs, four capless LDOs, one Bandgap reference and one temperature sensor and includes an integrated 3rd party PLL.

The ADC and DAC architecture is optimized to maximize performance while minimizing power and area consumption. To maximize SNR, the AFE includes an ultra-low-jitter clock distribution network.

Key features

  • 2x 12-bit 4GSPS IQ ADCs (ODT-ADS-12B4GIQ-GF22FDX)
  • 2x 12-bit 8GSPS IQ DACs (ODT-DAC-14B8GIQ-GF22FDX)
  • 2x 12-bit 500MSPS IQ ADCs (ODT-ADS-12B500M-GF22FDX)
  • 2x Capless LDO (ODT-LDO-IC-25M-GF22FDX)
  • 4x Capless LDO (ODT-LDO-IC-250M-GF22FDX)
  • 1 Band Gap Reference (ODT-REF-SV1P8- GF22FDX)
  • 1 Temperature Sensor (ODT-TVM-ULP-001C-GF22FDX)
  • Low jitter PLL
  • PLL bypass mode
  • ADC Clock distribution network
  • ADC Clock divider synchronization logic
  • Integrated ESD and bumps

Block Diagram

Applications

  • General purpose software defined radio
  • High speed data acquisition systems
  • Cellular base station
  • Broadband communications
  • High-speed medical imaging
  • Wideband satellite receiver
  • LIDAR
  • RADAR

What’s Included?

  • Datasheet
  • Hard Macro (GDSII)
  • Characterization Report (as applicable)
  • Abstract View (LEF) for top level connectivity
  • Integration and Customer Support

Silicon Options

Foundry Node Process Maturity
GlobalFoundries 22nm FDX

Specifications

Identity

Part Number
ODT-AFE-2T2R-GF22FDX
Vendor
Omni Design Technologies, Inc.
Type
Silicon IP

Provider

Omni Design Technologies, Inc.
HQ: USA
Omni Design Technologies, Inc. is a developer of disruptive, ultra-low power semiconductor embedded circuits (IP Cores), including ultra-low power analog circuits, highly-efficient interface circuits and connected sensors. Our patented and proprietary technology offers solutions that use dramatically lower power and provide superior performance, architected from the ground up to take advantage of deep sub-micron CMOS processes. Omni Design’s mission is to provide a wide range of ultra low-power, high performance embedded circuits configured to enable highly-differentiated semiconductor systems and plug-and-play system-on-chip (SoC) development. Our IP offerings target SoCs that address a wide range of application areas including IoT, test and measurement, high speed interfaces, communications, medical imaging, and sensor hubs. Omni Design Technologies, Inc. is a privately held company with offices in Milpitas, CA and Boston, MA. Omni Design was founded in 2015 by a team of semiconductor industry veterans, technologists, and experienced entrepreneurs with a successful track record of delivering high performance analog solutions that advance the state of the art.

Learn more about Analog Front End IP core

How to specify and integrate successfully a measurement analog front-end including its power computation engine in an energy metering IC

Based on the system specification of a typical smart meter, this article demonstrates the importance of carefully selecting the power metering IP solution so that its specification matches the standard requirements and copes with the application challenges. This article then pinpoints thoroughly the various issues that must be taken into account for the selection of the Silicon IP and helps identify the possible trade-offs between the performance of the Mixed-signal Front-end (MFE) and that of the Power and energy Computation Engine (PCE).

Modeling and Verification of Mixed Signal IP using SystemVerilog in Virtuoso and NCsim

In this paper we present a methodology to model and verify a mixed-signal IP using SystemVerilog in Virtuoso and NCsim. We take our 12.5Gbps transmitter (TX) design as an example to explain the method we propose. This TX is designed to operate at programmable data rates from 1.25Gbps – 12.5Gbps and to support requirements of multiple serial protocols like USB, PCIe, and SATA. Interaction between AFE and Digital is key towards proper implementation of features like Feed Forward Equalization (FFE), programmable output swing and power management states.

Is there a "one-size fits all" SOC PLL?

Like most types of circuits, there is no such thing as a "one size fits all" PLL. This article will explore the trade-offs in PLL performance and design and look for a solution to most SOC PLL needs.

Frequently asked questions about Analog Front End IP cores

What is Ultra Low-Power High-Performance AFE on GF 22FDX?

Ultra Low-Power High-Performance AFE on GF 22FDX is a Analog Front End IP core from Omni Design Technologies, Inc. listed on Semi IP Hub. It is listed with support for globalfoundries.

How should engineers evaluate this Analog Front End?

Engineers should review the overview, key features, supported foundries and nodes, maturity, deliverables, and provider information before shortlisting this Analog Front End IP.

Can this semiconductor IP be compared with similar products?

Yes. Buyers can compare this product with similar semiconductor IP cores or IP families based on category, provider, process options, and structured technical specifications.

×
Semiconductor IP