Vendor: Silicon Library Inc. Category: Single-Protocol PHY

SD4.x UHSII

SD4.x UHSII is PHY IP solution for UHS-II interface for next generation of ultra high speed used in both SDHC and SDXC.

Overview

SD4.x UHSII is PHY IP solution for UHS-II interface for next generation of ultra high speed used in both SDHC and SDXC.

SD4.x UHSII implements SLI’s unique SerDes technology to achieve 312MB/s speed for UHS-II with the low power consumption. This PHY IP can be applied to both the device and host sides including SDIO and hence it can be utilized for SOCs for various applications including SD cards, digital cameras, digital videos, digital TVs, media players and personal computers.

Key features

  • Fully compliant with UHSII specification Ver. 4.x
  • Bidirectional receiver/transmitter (2 channels) supporting both full and half duplex modes
  • Supports data rates from 390Mbps to 1.56Gbps/ch
  • RCLK frequency: 26 to 56MHz
  • Built-in PLL and clock recovery
  • Supports BIST and on-chip termination resistors
  • Selectable parallel interface from 8b or 16b
  • Adjustable PHY parameters

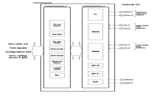
Block Diagram

Files

Note: some files may require an NDA depending on provider policy.

Specifications

Identity

Part Number
SD4.x UHSII
Vendor
Silicon Library Inc.
Type
Silicon IP

Provider

Silicon Library Inc.
HQ: Japan
Silicon Library Inc. (SLI) is a leading provider of high speed interface semiconductor IP and IC solutions. SLI's product offerings included silicon-proven/production-proven eDP/DP TX and RX IP, HDMI TX and RX IP, . SLI offers one-stop shop of both Link and PHY as optimally designed solution. In order to maintain the highest IP quality, SLI staffs its own test team and equipments to verify the IP implementation in actual silicon.

Learn more about Single-Protocol PHY IP core

UFS Goes Mainstream

UniversalFlash Storage (UFS) was created for mobile applications and computer systems requiring high performance and low power consumption. These systems typically use embedded Flash based on the JEDEC standard eMMC. UFS was defined by JEDEC as the evolutionary replacement for eMMC offering significantly higher memory bandwidth. The standard builds on existing standards such as the SCSI command set, the MIPI Alliance M-PHY and UniPro as well as eMMC form factors to simplify adoption and development.

Design IP Faster: Introducing the C~ High-Level Language

In this paper, we introduce a new high-level, dataflow programming language called C~ (“C flow”) that further increases productivity by raising the level of abstraction from behavioral descriptions, while overcoming the limitations of C for hardware design. We present the syntax and semantics of this language, and the framework that provides hardware and software code generation. This paper illustrates the benefits of using C~ for hardware design of a IEEE 802.3 MAC, synthesized for FPGA and for 90nm CMOS technology.

Universal Flash Storage: Mobilize Your Data

Universal Flash Storage (UFS) was created for mobile applications and computer systems requiring high performance and low power consumption. These systems typically use embedded Flash based on the JEDEC standard eMMC. UFS was defined by JEDEC as the evolutionary replacement for eMMC offering significantly higher memory bandwidth. The standard builds on existing standards such as the SCSI command set, the MIPI Alliance M-PHY and UniProSM as well as eMMC form factors to simplify adoption and development.

Can MIPI and MDDI Co-Exist?

Since MIPI and MDDI standards both target interfaces to cameras and displays on mobile devices, are two separate standards really needed?

Frequently asked questions about Single-Protocol PHY IP

What is SD4.x UHSII?

SD4.x UHSII is a Single-Protocol PHY IP core from Silicon Library Inc. listed on Semi IP Hub.

How should engineers evaluate this Single-Protocol PHY?

Engineers should review the overview, key features, supported foundries and nodes, maturity, deliverables, and provider information before shortlisting this Single-Protocol PHY IP.

Can this semiconductor IP be compared with similar products?

Yes. Buyers can compare this product with similar semiconductor IP cores or IP families based on category, provider, process options, and structured technical specifications.

×
Semiconductor IP