Vendor: Digital Blocks, Inc. Category: Interrupt Controller

Intel 8259A Functional Equivalent Programmable Interrupt Controller

The DB8259S Programmable Interrupt Controller core is a full function equivalent to the Intel 8259A / Intersil 82C59A / NEC uPD82…

Overview

The DB8259S Programmable Interrupt Controller core is a full function equivalent to the Intel 8259A / Intersil 82C59A / NEC uPD8259A devices. The DB8259S Interrupt Controller manages up to eight vectored priority interrupts for a microprocessor. Using multiple instantiations of the DB8259S core and programming it to cascade mode enables up to sixty-four vectored priority interrupts. More than sixty four vectored interrupts can be accomplished by programming the DB8259S core to Poll Command Mode. Interrupt sources may be either edge or level triggered.

The DB8259A supports eight vectored priority interrupts per core, sixty-four vectored priority interrupts with cascading, and more than sixty-four vectored interrupts with programming in Poll Command Mode.

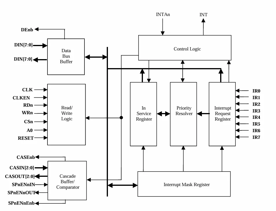
Functional Description

Data Bus Buffer

The 3-state, bi-directional 8-bit buffer is used to interface the DB8259S core to the microprocessor system data bus. Control words and status information are transferred through the Data Bus Buffer.

Read / Write Logic

The Read / Write Logic processes the data bus control signals and stores the output commands from the microprocessor. The commands are the four Initialization Command Word (ICW) registers and the three Operation Command Word (OCW) registers. These registers contain the various programming control formats for device operation. The Read/Write Logic block also enables the status of the DB8259S core to be transferred to the system data bus.

The CLK and CLKEN inputs facilitate an all synchronous design. All digital logic is clocked with CLK, enabling integration into FPGA and ASIC synchronous design flows.

CLKEN facilitates system data bus connectivity to the microprocessor, and is typically connected to a wait state logic output signal. For 386EX microprocessors, CLKEN can be simply connected to the 386EX CLKOUT signal. For fast system bus applications, CLKEN can be not used by tying to its active (or always enabled) GND level.

Cascade Buffer Comparator

The Cascade Buffer Comparator stores and compares the IDs of all DB8259S cores instantiated in the system. The associated three I/O pins (CAS0-2) are outputs when the DB8259S is used as a Master and are inputs when the DB8259S is used as a Slave. As a Master, the DB8259S core sends the ID of the interrupting slave device onto the CAS0-2 lines. The selected Slave will send its preprogrammed subroutine address onto the system data bus during the next one or two consecutive INTAn pulses.

Control Logic

The Control Logic checks for INTAn pulses which cause the DB8259S to release vector information onto the system data bus. The format of this data depends on the system mode of the DB8259S. This block also sets the interrupt output high whenever a valid interrupt request is asserted.

Interrupt Request Register (IRR) and In-Service Register (ISR)

The interrupts at the IR input lines are handled by two registers in tandem, the Interrupt Request Register (IRR) and the In-Service Register (ISR). The IRR is used to store all the interrupt levels which are requesting service. The ISR is used to store all the interrupt levels that are being serviced by the microprocessor.

Priority Resolver

The Priority Resolver determines the priorities of the bits set in the IRR. The highest priority is selected and strobed into the corresponding bit of the ISR during an INTAn cycle.

Interrupt Mask Register (IMR)

The Interrupt Mask Register (IMR) stores the bits that control the interrupt lines to be masked. The IMR operates on the IRR. Masking of a higher priority input will not affect the interrupt request lines of lower priority.

Key features

  • Programming for all 8259A modes and operational features:
    • MCS-80/85 and 8088/8086 processor modes
    • Fully Nested Mode and Special Fully Nested Mode
    • Special Mask Mode & Buffered Mode
    • Poll Command Mode
    • Cascade Mode with Master or Slave selection
    • Automatic End-of-Interrupt Mode
    • Specific and Non-Specific End-of-Interrupt Commands
    • Automatic & Specific Rotation
    • Edge and level triggered interrupt input modes
    • Reading of Interrupt Request Register (IRR) and In-Service Register (ISR) through data bus
    • Writing and reading of Interrupt Mask Register (IMR) through data bus
  • Cost-effective CPLD/FPGA replacement solution for 8259A merchant components (Intel/Intersil/NEC). Ideal for ASIC implementations.
  • Available in VHDL, Verilog, or FPGA-Specific Netlist

Block Diagram

Benefits

  • The DB8259S Synchronous Programmable Interrupt Controller is a silicon-proven interrupt controller IP core. Customers can work off the large industry knowledge surrounding the Intel 8259A and Harris / Intersil 82C59A devices to get microprocessor system designs with interrupt controller requirements up and running quickly.
  • The CLK and CLKEN inputs facilitate an all synchronous design. All digital logic is clocked with CLK, enabling integration into FPGA and ASIC synchronous design flows. CLKEN facilitates system data bus connectivity to the microprocessor, and is typically connected to a wait state logic output signal. For fast system bus applications, CLKEN can be not used by tying to its active (or always enabled) VCC level.

What’s Included?

  • VHDL or Verilog RTL Source.
  • Comprehensive testbench suite with expected results.
  • Synthesis scripts.
  • Installation Guide.
  • Technical Reference Manual.

Files

Note: some files may require an NDA depending on provider policy.

Specifications

Identity

Part Number
DB8259S
Vendor
Digital Blocks, Inc.
Type
Silicon IP

Provider

Digital Blocks, Inc.
HQ: USA
Digital Blocks architects, designs, verifies, and markets semiconductor Intellectually Property (IP) cores to worldwide technology systems companies. The company's expertise is in Embedded Processor & Peripherals, Display Controller, Display Link Layer, 2D Graphics, Image Compression, Audio / Video Processing, and High-Speed Networking / A/V Networking & Routing / High-Frequency Trading Networking.

Learn more about Interrupt Controller IP core

Introducing the Akeana 1000 Series Processors

Today we present to you the Akeana 1000 Series Processors, a series of High Performance processors IP which is optimized for AI applications and workloads, thus providing a quick AND efficient processing solution for your AI needs.

Easy migration from Arm to RISC-V: an L110 case study

Last June, we launched the Codasip L110 RISC-V core, introducing the best-in-class solution for power-efficient applications. The L110 is highly competitive in terms of power efficiency and code density. Additionally, it is the first RISC-V core to support easy and risk-free customization while minimizing the verification effort required to bring these customizations to silicon.

A formal-based approach for efficient RISC-V processor verification

In this article, we go through a formal-based, easy-to-deploy RISC-V processor verification application. We show how, together with a RISC-V ISA golden model and RISC-V compliance automatically generated checks, we can efficiently target bugs that would be out of reach for simulation.

SOC Stability in a Small Package

There are some IPs in SOC which are of general use and malfunction on them impacts a entire SOC. We Identified these IPs and analyze impact on SOC due to their malfunction.

Frequently asked questions about interrupt controller IP cores

What is Intel 8259A Functional Equivalent Programmable Interrupt Controller?

Intel 8259A Functional Equivalent Programmable Interrupt Controller is a Interrupt Controller IP core from Digital Blocks, Inc. listed on Semi IP Hub.

How should engineers evaluate this Interrupt Controller?

Engineers should review the overview, key features, supported foundries and nodes, maturity, deliverables, and provider information before shortlisting this Interrupt Controller IP.

Can this semiconductor IP be compared with similar products?

Yes. Buyers can compare this product with similar semiconductor IP cores or IP families based on category, provider, process options, and structured technical specifications.

×
Semiconductor IP