Vendor: T2M GmbH Category: Modulation Demodulation

DVB-T2/T Demodulator and Decoder IP (Silicon Proven)

The DVB-T2/T IP is a silicon-proven IP core extracted from a production chip contains FEC.

Overview

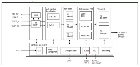
The DVB-T2/T IP is a silicon-proven IP core extracted from a production chip contains FEC. The DVB-T2 demodulator features microcontroller-assisted operation (embedded) enabling the fast-tracking and response times demanded by the T2 standard. There are no user registers to be programmed in this firmware-controlled demodulator. For the T standards, classical software control from the host processor and
programmable registers have been implemented. Even though the silicon implementation is highly optimized, allowing each standard to share common hardware blocks, the effort has been made to maintain a common look and feel with the other Demodulator IP cores.

The DVB-T2 and DVB-T demodulators IP core share a common input that may be operated in ZIF mode or in IF mode. Silicon as well as traditional CAN tuners are supported through a flexible IF/baseband interface with IF/BB AGC and I2C control.

It is Best-in-class, low-power standby mode IP core, to meet emerging energy standards for TV/STBs. Clock-rate management and improvements in channel acquisition efficiency enable a power-efficient standby mode.

Key features

  • DVB-T2 with T2-base profile of ETSI EN- 302755 v1.3.1,DTG7 v3 and Nordig Unified v2.4 compliant, 1.7-5-6-7 and 8 MHz normal and extended BW signals supported, GS streams, FEF and MISO supported
  • DVB-T demodulator: Compliant with ETSI EN-300744 v1.5.1, DTG7 v3 and Nordig Unified v2.4 compliant, 6-7 and 8 MHz BW supported
  • DVB-T/T2 compatible with zero-high- and legacy-IF tuners (CAN or silicon)
  • Embedded microcontroller (DVB-T2 task sequencing by firmware and monitoring)
  • Flexible clock management for advanced power saving
  • JTAG and I2C serial bus interfaces
  • I2C repeater for private tuner communications

Block Diagram

Benefits

  • Enables fast and seamless integration in complex digital TV systems such as iDTV, set-top boxes or PCTV dongles.
  • Silicon Proven IP core
  • Extracted from Production chip
  • With Modifications rights
  • Fully Packaged

Applications

  • Digital TV
  • STB
  • PCTV Dongles

What’s Included?

  • Verilog Source RTL Code plus Simulation Environment
  • Verification Environment
  • Integration support
  • Datasheet/Integration Guide/Verification Guide
  • Complete Package
  • Pre and post-sales support

Files

Note: some files may require an NDA depending on provider policy.

Specifications

Identity

Part Number
DVB-T2/T Demodulator & Decoder IP
Vendor
T2M GmbH
Type
Silicon IP

Provider

T2M GmbH
T2M GmbH is the leading Global Technology Company supplying state of the art complex semiconductor connectivity IPs and KGDs, enabling the creation of complex connected devices for Mobile, IoT and Wearable markets. T2M's unique SoC White Box IPs are the design database of mass production RF connectivity chips supporting standards including Wifi, BT, BLE, Zigbee, NFC, LTE, GSM, GNS. They are available in source code as well as KGD for SIP / modules. With offices in USA, Europe, China, Taiwan, South Korea, Japan, Singapore and India, T2M’s highly experienced team provides local support, accelerating product development and Time 2 Market.

Learn more about Modulation Demodulation IP core

Three Major Inflection Points for Sourcing Bluetooth Intellectual Property

Synopsys is now shipping support for Bluetooth® 5.4, the latest specification from the Bluetooth SIG (Special Interest Group). The enhancements in Bluetooth 5.4 will open additional markets and use cases. This is one of the many inflection points in the Bluetooth Low Energy market that will be discussed in this paper.

Part 2: Opening the 5G Radio Interface

Carriers are now deploying 5G across the globe driven by the need to keep up with relentless mobile data growth. 5G New Radio (NR) operates at higher frequencies to increase bandwidth, but at the expense of range. There will therefore be a need for a much larger number of 5G RUs to provide the same coverage. The availability of cost-effective, reliable and open 5G radio units is therefore critical.

An Integrated, Tunable RF Filter: an Enabler for Reconfigurable Front-Ends

This paper presents the design and performance of a key RF circuit necessary for the realization of a reconfigurable, integrated RF front-end: a tunable frequency, selectable bandwidth, on-chip, “SAW replacement” filter. The on-die tunable filter presented here has a tunable center frequency up to 1 GHz, a selectable bandwidth up to 40 MHz, and an adjacent channel rejection down to 60 dB.

Design considerations for integrated CMOS receivers

To meet the demands for the multi-band, multi-mode wireless standards in the current market, a highly integrated wireless receiver (RX) is desired. CMOS technology has become the technology of choice for the integrated receiver design.

Silicon IP for Programmable Baseband Processing

An efficient IP reuse strategy relies on IP blocks with wide applicability. That makes generic blocks, such as programmable processors preferable. However, in many applications such as handheld wireless terminals, additional silicon area and power consumption compared to fixed function solutions can not be accepted.

Frequently asked questions about Modulation and Demodulation IP cores

What is DVB-T2/T Demodulator and Decoder IP (Silicon Proven)?

DVB-T2/T Demodulator and Decoder IP (Silicon Proven) is a Modulation Demodulation IP core from T2M GmbH listed on Semi IP Hub.

How should engineers evaluate this Modulation Demodulation?

Engineers should review the overview, key features, supported foundries and nodes, maturity, deliverables, and provider information before shortlisting this Modulation Demodulation IP.

Can this semiconductor IP be compared with similar products?

Yes. Buyers can compare this product with similar semiconductor IP cores or IP families based on category, provider, process options, and structured technical specifications.

×
Semiconductor IP