Vendor: T2M GmbH Category: Single-Protocol PHY

USB 3.0 PHY IP, Silicon Proven in TSMC 12FFC

For auxiliary devices, a Universal Serial Bus (USB) transceiver is offered.

USB 3.0 TSMC 12nm FFC In Production View all specifications

Overview

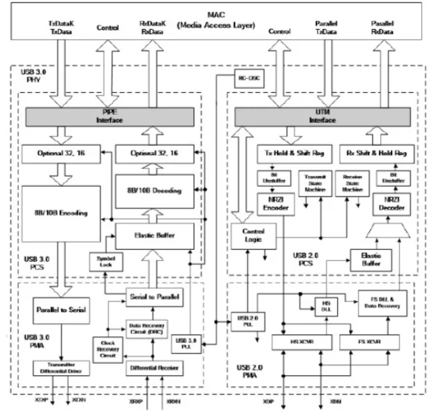
For auxiliary devices, a Universal Serial Bus (USB) transceiver is offered. The PHY complies with the requirements of UTMI, USB 2.0 PIPE, and USB 3.0 (USB SuperSpeed). The USB3.0 PHY IP transceiver is designed to consume little power and take up little space on the chip without compromising speed or data throughput. The USB3.0 PHY IP includes a full on-chip physical transceiver solution with Electrostatic Discharge (ESD) protection, a built-in self-test module with inbuilt jitter injection, and a dynamic equalization circuit to provide comprehensive support for high-performance designs. Several IP sources are supported by the USB3 MAC layer through the shared PHY interface (PIPE). Internal test monitoring and jitter are reduced by using constant power, built-in Jitter Injection Output, built-in Self-Test, and approved change of analogue circuit characteristics.

Key features

  • Compliant with Universal Serial Bus 3.0 Specification
  • Supports 2.5GT/s and 5.0GT/s serial data transmission rate
  • Compliant with PIPE 3.0
  • Compliant with Universal Serial Bus 2.0 Specification
  • High-speed data transfer rate: 480 Mbps
  • Compliant with legacy USB 1.1
  • Full-speed data transfer rate: 12 Mbps
  • Compliant with UTMI 1.05 Specification
  • Operating Voltage: 1.1V and 3.3V
  • Support low jitter automatically calibrated oscillator for crystal-less mode
  • Support 125/250 MHz with 32/16-bit mode for USB 3.0
  • Support the Build-In-Self-Test (BIST) mode for low-cost TEG/ATE testing
  • Silicon Proven in TSMC 12FFC.

Block Diagram

What’s Included?

  • GDSII & layer map
  • Place-Route views (.LEF)
  • Liberty library (.lib)
  • Verilog behavior model
  • Netlist & SDF timing
  • Layout guidelines, application notes
  • LVS/DRC verification reports

Silicon Options

Foundry Node Process Maturity
TSMC 12nm FFC In Production

Specifications

Identity

Part Number
USB 3.0 PHY IP in 12FFC
Vendor
T2M GmbH
Type
Silicon IP

Standards & Interfaces

Supported Standards
USB 3.0

Files

Note: some files may require an NDA depending on provider policy.

Provider

T2M GmbH
T2M GmbH is the leading Global Technology Company supplying state of the art complex semiconductor connectivity IPs and KGDs, enabling the creation of complex connected devices for Mobile, IoT and Wearable markets. T2M's unique SoC White Box IPs are the design database of mass production RF connectivity chips supporting standards including Wifi, BT, BLE, Zigbee, NFC, LTE, GSM, GNS. They are available in source code as well as KGD for SIP / modules. With offices in USA, Europe, China, Taiwan, South Korea, Japan, Singapore and India, T2M’s highly experienced team provides local support, accelerating product development and Time 2 Market.

Learn more about Single-Protocol PHY IP core

UFS Goes Mainstream

UniversalFlash Storage (UFS) was created for mobile applications and computer systems requiring high performance and low power consumption. These systems typically use embedded Flash based on the JEDEC standard eMMC. UFS was defined by JEDEC as the evolutionary replacement for eMMC offering significantly higher memory bandwidth. The standard builds on existing standards such as the SCSI command set, the MIPI Alliance M-PHY and UniPro as well as eMMC form factors to simplify adoption and development.

Design IP Faster: Introducing the C~ High-Level Language

In this paper, we introduce a new high-level, dataflow programming language called C~ (“C flow”) that further increases productivity by raising the level of abstraction from behavioral descriptions, while overcoming the limitations of C for hardware design. We present the syntax and semantics of this language, and the framework that provides hardware and software code generation. This paper illustrates the benefits of using C~ for hardware design of a IEEE 802.3 MAC, synthesized for FPGA and for 90nm CMOS technology.

Universal Flash Storage: Mobilize Your Data

Universal Flash Storage (UFS) was created for mobile applications and computer systems requiring high performance and low power consumption. These systems typically use embedded Flash based on the JEDEC standard eMMC. UFS was defined by JEDEC as the evolutionary replacement for eMMC offering significantly higher memory bandwidth. The standard builds on existing standards such as the SCSI command set, the MIPI Alliance M-PHY and UniProSM as well as eMMC form factors to simplify adoption and development.

Can MIPI and MDDI Co-Exist?

Since MIPI and MDDI standards both target interfaces to cameras and displays on mobile devices, are two separate standards really needed?

Frequently asked questions about Single-Protocol PHY IP

What is USB 3.0 PHY IP, Silicon Proven in TSMC 12FFC?

USB 3.0 PHY IP, Silicon Proven in TSMC 12FFC is a Single-Protocol PHY IP core from T2M GmbH listed on Semi IP Hub. It is listed with support for tsmc In Production.

How should engineers evaluate this Single-Protocol PHY?

Engineers should review the overview, key features, supported foundries and nodes, maturity, deliverables, and provider information before shortlisting this Single-Protocol PHY IP.

Can this semiconductor IP be compared with similar products?

Yes. Buyers can compare this product with similar semiconductor IP cores or IP families based on category, provider, process options, and structured technical specifications.

×
Semiconductor IP