Vendor: Rambus, Inc. Category: Public Key

RSA/ECC Public Key Accelerators with TRNG and AHB

The PKA-IP-150 is a family of Public Key Accelerators (PKA) IP cores designed for full scalability and an optimal “performance ov…

Overview

The PKA-IP-150 is a family of Public Key Accelerators (PKA) IP cores designed for full scalability and an optimal “performance over gate count” deployment. Silicon-proven, the PKA-IP-150 address the unique high-speed, high-security requirements of semiconductor OEMs and provides a reliable and cost-effective IP solution that is easy to integrate into SoC designs. The PKA-IP-150 can be deployed in any semiconductor design that requires high performance key exchange or key generation with low power consumption, and can be provided with or without protection against side channel attacks.

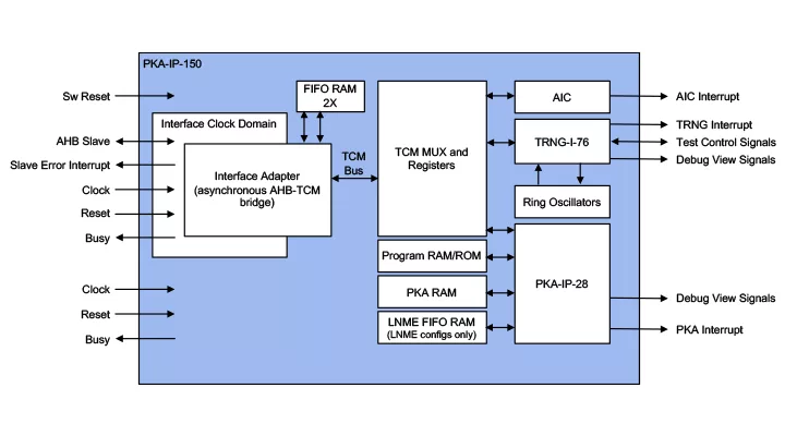
The PKA-IP-150 public key accelerator combines the PKA-IP-28 and TRNG-IP-76 with an AMBA interface such as AXI or AHB.

Key features

  • Up to 4160-bit modulus size for RSA & 768-bit modulus for prime field ECC operations
  • Public key signature generation, verification and key negotiation with little involvement of host
  • NIST CAVP compliant for FIPS 140-3

Block Diagram

Benefits

  • Complete HW/SW system.
  • High-speed Public Key processing solution.
  • Silicon-proven implementation.
  • Fast and easy to integrate into SoCs.
  • Flexible layered design.
  • Software support available:
  • Generic driver libraries for PKA, TRNG and interrupt controller
  • High level Public Key operations through a library
  • Complete range of configurations.
  • World-class technical support.

What’s Included?

  • Documentation
    • Hardware Reference and Programmer Manual
    • Integration Manual
    • Verification Specification
    • Operations Manual
  • Synthesizable Verilog RTL source code
  • Self-checking RTL test bench, including test vectors and expected result vectors
  • Simulation scripts
  • Synthesis scripts
  • Configurations:
  • Many different configurations available:
    • Side channel protection
    • ROM or RAM
    • PLB or asynchronous AHB or APB interface instead of the synchronous AHB or AXI interface.
    • Gate counts range from : 33-340k gates, depending on number of modules
    • Up to 900 MHz
  • For more information about this product or the all the different configurations, please contact Rambus: https://www.rambus.com/contact

Files

Note: some files may require an NDA depending on provider policy.

Specifications

Identity

Part Number
PKA-IP-150
Vendor
Rambus, Inc.

Provider

Rambus, Inc.
HQ: USA
Rambus delivers industry-leading chips and silicon IP for the data center and AI infrastructure. With over three decades of advanced semiconductor experience, our products and technologies address the critical bottlenecks between memory and processing to accelerate data-intensive workloads. By enabling greater bandwidth, efficiency and security across next-generation computing platforms, we make data faster and safer.

Learn more about Public Key IP core

Bringing IPsec into the Quantum Safe Era

Over the next five years, all security protocols and public key cryptography will undergo a comprehensive overhaul to ensure quantum safety. This represents the most significant change in these domains since the advent of public key cryptography.

Google, Quantum Attacks, and ECDSA: Why There’s No Need to Panic and Why Preparation Matters Now

Over the past several weeks, we’ve seen growing discussion across the industry about Google’s latest publications on quantum computing and cryptography. In some corners, those discussions have quickly escalated into claims that widely deployed elliptic curve cryptography (ECC), including ECDSA, is on the verge of collapse. Customers are understandably asking questions: Has ECDSA been broken? Are today’s systems suddenly at risk? Do migration timelines need to change?

Side-Channel Attacks On Post-Quantum Cryptography

Device security requires designers to secure their algorithms, not only against direct attacks on the input and output, but also against side-channel attacks. This requirement is especially notable for cryptographic algorithms, since they have a regular, well-understood structure, and the secrets they process often give access to much more information.

Frequently asked questions about Public-Key Cryptography IP cores

What is RSA/ECC Public Key Accelerators with TRNG and AHB?

RSA/ECC Public Key Accelerators with TRNG and AHB is a Public Key IP core from Rambus, Inc. listed on Semi IP Hub.

How should engineers evaluate this Public Key?

Engineers should review the overview, key features, supported foundries and nodes, maturity, deliverables, and provider information before shortlisting this Public Key IP.

Can this semiconductor IP be compared with similar products?

Yes. Buyers can compare this product with similar semiconductor IP cores or IP families based on category, provider, process options, and structured technical specifications.

×
Semiconductor IP