Vendor: Omni Design Technologies, Inc. Category: LDO Voltage Regulator

Low dropout regulator (LDO), 25mA output current on GF 22FDX

The ODT-LDO-IC-25M-GF22FDX is a low dropout (LDO), linear regulator for integration in a SoC.

GlobalFoundries 22nm FDX View all specifications

Overview

The ODT-LDO-IC-25M-GF22FDX is a low dropout (LDO), linear regulator for integration in a SoC. The LDO uses advanced control techniques to achieve excellent transient response, excellent PSRR performance and low noise.

Key features

  • Input voltage of 1.2V
  • Output voltage of 0.79V to 0.86V
  • Up to 25mA output current.
  • Excellent PSRR
  • Fast load transient recovery
  • Compact area
  • Supports high impedance output mode
  • Functional from -40°C to 125°C

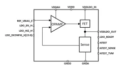
Block Diagram

Benefits

  • High Performance Low Power, Low Area

What’s Included?

  • Datasheet
  • Hard Macro (GDSII)
  • Characterization Report (as applicable)
  • Abstract View (LEF) for top level connectivity
  • Spectre Netlist (as needed upon request)
  • Behavioral Model
  • Integration and Customer Support

Silicon Options

Foundry Node Process Maturity
GlobalFoundries 22nm FDX

Specifications

Identity

Part Number
ODT-LDO-IC-25M-GF22FDX
Vendor
Omni Design Technologies, Inc.
Type
Silicon IP

Provider

Omni Design Technologies, Inc.
HQ: USA
Omni Design Technologies, Inc. is a developer of disruptive, ultra-low power semiconductor embedded circuits (IP Cores), including ultra-low power analog circuits, highly-efficient interface circuits and connected sensors. Our patented and proprietary technology offers solutions that use dramatically lower power and provide superior performance, architected from the ground up to take advantage of deep sub-micron CMOS processes. Omni Design’s mission is to provide a wide range of ultra low-power, high performance embedded circuits configured to enable highly-differentiated semiconductor systems and plug-and-play system-on-chip (SoC) development. Our IP offerings target SoCs that address a wide range of application areas including IoT, test and measurement, high speed interfaces, communications, medical imaging, and sensor hubs. Omni Design Technologies, Inc. is a privately held company with offices in Milpitas, CA and Boston, MA. Omni Design was founded in 2015 by a team of semiconductor industry veterans, technologists, and experienced entrepreneurs with a successful track record of delivering high performance analog solutions that advance the state of the art.

Learn more about LDO Voltage Regulator IP core

The Tradeoffs of Low Dropout (LDO) Voltage Regulator Architectures and the Advantages of "Capless" LDOs

Power management of battery-powered electronic devices is becoming increasingly more important for the microelectronics industry. This white paper details the difference between low dropout (LDO) voltage regulators that use external output capacitors and those that do not, and how your system designs can benefit from not using an output capacitor. Well-designed capless LDO voltage regulators can have multiple benefits, and they are presented here.

Power Management for Internet of Things (IoT) System on a Chip (SoC) Development

There are many factors that must be considered when developing a custom System on a Chip (SoC) for Internet of Things (IoT) applications. Chief among these are the power management circuits on the die. Vidatronic offers this white paper to discuss these considerations and all of the various circuit blocks that can be found in this application. Vidatronic IP solutions are discussed and the benefits they bring to IoT SoC designers.

Tradeoffs of LDO Architectures and the Advantages of Advanced Architecture "Capless" LDOs

Power management of battery-powered electronic devices is becoming increasingly more important for the present and future microelectronics industry. This application note details the difference between low dropout (LDO) voltage regulators that use output capacitance and those that do not and how your system designs can benefit from or be improved by not using an output capacitor.

Introduction to Low Dropout (LDO) Linear Voltage Regulators

Linear voltage regulators are key components in any power-management system that requires a stable and ripple-free power supply. A subset of linear voltage regulators is a class of circuits known as low dropout (LDO) regulators. This paper explains the fundamentals of LDOs and introduces Vidatronic’s LDO technology which solves many of the known shortcomings of LDO circuits.

Frequently asked questions about LDO Voltage Regulator IP cores

What is Low dropout regulator (LDO), 25mA output current on GF 22FDX?

Low dropout regulator (LDO), 25mA output current on GF 22FDX is a LDO Voltage Regulator IP core from Omni Design Technologies, Inc. listed on Semi IP Hub. It is listed with support for globalfoundries.

How should engineers evaluate this LDO Voltage Regulator?

Engineers should review the overview, key features, supported foundries and nodes, maturity, deliverables, and provider information before shortlisting this LDO Voltage Regulator IP.

Can this semiconductor IP be compared with similar products?

Yes. Buyers can compare this product with similar semiconductor IP cores or IP families based on category, provider, process options, and structured technical specifications.

×
Semiconductor IP