Vendor:
T2M GmbH
Category:
Wi-Fi
Dual band WiFi N/G/B/A Digital Baseband IP
Extracted from high volume production chip shipped in Tier 1 handsets, the 802.11 A/B/G/N Baseband/MAC wireless solution operatin…
Overview
Extracted from high volume production chip shipped in Tier 1 handsets, the 802.11 A/B/G/N Baseband/MAC wireless solution operating in a single stream mode for low-power standalones, embedded stations, access points, and Internet of Things (IoT) applications.
This IP supports both mandatory and optional features of the IEEE 802.11n standard and its corresponding Wi-Fi Alliance certifications. It can also be used in a variety of configurations, including IEEE 802.11b only and IEEE 802.11b/g or IEEEE 802.11b/g/n combinations. It offers a complete and self-contained Wi-Fi networking solution by harnessing the capacity to host application or offload Wi-Fi networking functions from another application processor.
Furthermore, the IP has been designed to achieve the lowest power consumption with a combination of several proprietary techniques for low-power mobile wearable electronics and IoT applications.
This IP supports both mandatory and optional features of the IEEE 802.11n standard and its corresponding Wi-Fi Alliance certifications. It can also be used in a variety of configurations, including IEEE 802.11b only and IEEE 802.11b/g or IEEEE 802.11b/g/n combinations. It offers a complete and self-contained Wi-Fi networking solution by harnessing the capacity to host application or offload Wi-Fi networking functions from another application processor.
Furthermore, the IP has been designed to achieve the lowest power consumption with a combination of several proprietary techniques for low-power mobile wearable electronics and IoT applications.
Key features
- Supports data rates upto 65Mbps
- Throughput numbers of above 50 Mbps for UDP and above 40 Mbps for TCP.
- Support for authentication methods (Cisco® LEAP, PEAP with EAP-GTC support, CCKM with EAP-FAST) depend on the host platform.
- Supports MAC enhancements including:802.11d -Regulatory domain operation,802.11e -QoSincluding WMM,802.11h –Transmit power control dynamic and frequency selection,802.11i -Security including WPA2 and WAPI compliance,802.11k -Radio resource measurement,802.11r –Roaming,802.11w -Management frame protection
- Modem (OFDM and CCK baseband processors):Support for 6 Mbps to 65 Mbps OFDM,11 Mbps and 5.5 Mbps CCK,Legacy 2 Mbps and 1 Mbps DSSS data rates
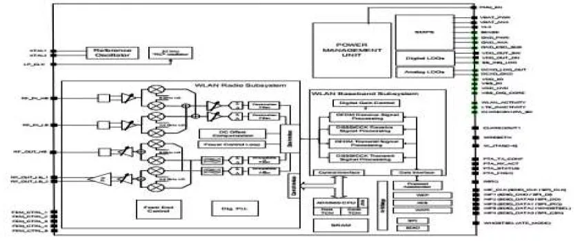
Block Diagram
802.11 N/G/B/A Digital Baseband IP block diagram
What’s Included?
- White Box Design Data Base for Digital only or Complete Chip database
- Source Code database delivery of all HW & SW design for the SoC
- Production test programs
- Packaging Information
- Extensive Documentation
Specifications
Identity
Part Number
802.11 N/G/B/A Digital Baseband IP
Vendor
T2M GmbH
Type
Silicon IP
Files
Note: some files may require an NDA depending on provider policy.
Provider
T2M GmbH
T2M GmbH is the leading Global Technology Company supplying state of the art complex semiconductor connectivity IPs and KGDs, enabling the creation of complex connected devices for Mobile, IoT and Wearable markets.
T2M's unique SoC White Box IPs are the design database of mass production RF connectivity chips supporting standards including Wifi, BT, BLE, Zigbee, NFC, LTE, GSM, GNS. They are available in source code as well as KGD for SIP / modules.
With offices in USA, Europe, China, Taiwan, South Korea, Japan, Singapore and India, T2M’s highly experienced team provides local support, accelerating product development and Time 2 Market.
Learn more about Wi-Fi IP core
Wi-Fi 7 (IEEE 802.11be) & MLO vs. Wi-Fi 6/6E (IEEE 802.11ax): What to Ask for Optimal Design Considerations
Franz Dugand, Ceva
How to achieve better IoT security in Wi-Fi modules
A look at the architecture of Wi-Fi modules and the opportunities for designers to improve IoT device and network security by using the resources available in these modules.
Designing a Wi-Fi HaLow Baseband in Less than Six Months
Protecting Wi-Fi chipsets with hardware-based security cores
CEVA's XC12 DSP Core Targets Multi-Gbit Cellular, Wi-Fi Opportunities
Frequently asked questions about Wi-Fi IP cores
What is Dual band WiFi N/G/B/A Digital Baseband IP?
Dual band WiFi N/G/B/A Digital Baseband IP is a Wi-Fi IP core from T2M GmbH listed on Semi IP Hub.
How should engineers evaluate this Wi-Fi?
Engineers should review the overview, key features, supported foundries and nodes, maturity, deliverables, and provider information before shortlisting this Wi-Fi IP.
Can this semiconductor IP be compared with similar products?
Yes. Buyers can compare this product with similar semiconductor IP cores or IP families based on category, provider, process options, and structured technical specifications.