Vendor:
T2M GmbH
Category:
Wi-Fi
Dual band WiFi N/G/B/A 2.4/5GHz RF Transciever IP
This RF transceiver IP is the design data base of a WiFi Dual Band RF Transceiver extracted from a 55nm production chip shipped i…
Overview
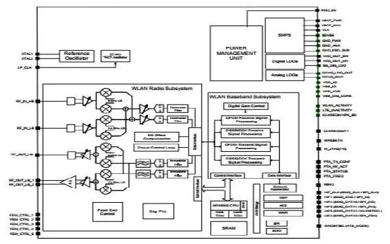
This RF transceiver IP is the design data base of a WiFi Dual Band RF Transceiver extracted from a 55nm production chip shipped in Tier 1 handsets. The RF Architecture gives highest level of integration and optimized for low power consumption. A single RF LC oscillator PLL provides the quadrature LO signals to the low and high band up and down converters.
The low and high band signals are demodulated by separate RF front ends. The radio signal from the balanced 2.4 GHz or 5 GHz RF input is amplified by the low band or high band LNA. The digital modem implements the OFDM and DSSS/CCK modulation for all frame-formats specified for a single layer/transmitter. The OFDM and DSSS/CCK modulated I/Q signals use a common circuit for digital up-sampling, filtering, quadrature imbalance compensation, LO leakage correction, and digital power scaling.
The RF design incorporates best in class cellular blocker tolerance & transmit emissions in cellular bands. PTA/ e-PTA with BT.
The low and high band signals are demodulated by separate RF front ends. The radio signal from the balanced 2.4 GHz or 5 GHz RF input is amplified by the low band or high band LNA. The digital modem implements the OFDM and DSSS/CCK modulation for all frame-formats specified for a single layer/transmitter. The OFDM and DSSS/CCK modulated I/Q signals use a common circuit for digital up-sampling, filtering, quadrature imbalance compensation, LO leakage correction, and digital power scaling.
The RF design incorporates best in class cellular blocker tolerance & transmit emissions in cellular bands. PTA/ e-PTA with BT.
Key features
- High Volume Silicon Proven in 55nm
- Extracted from Design Data Base of production chip
- Dual Band 2.4/5 Ghz20MHz RF transceiver with integrated PA & Balun
- Digital interface through integrated AFE (ADC/DAC)
- Best-in-class IOT with comprehensive coverage
- Ultra-low power consumption with innovative host offloading features
- RF design includes best in class cellular blocker and innovative LTE & BT Co-Existence
- Certified in Tier 1 handset shipped in high volume
- Performance
- Tx Power: +19.5dBm at Antenna (2.4GHz)
- Rx Sensitivity: -97dBm
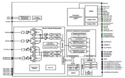
Block Diagram
802.11 N/G/B/A 2.4/5GHz RF Transceiver IP block diagram
What’s Included?
- Source Code of Design Data Base with rights to modify
- Schematics
- Layout
- Source Code
- Certification Certificates
- KGD
Specifications
Identity
Part Number
802.11 N/G/B/A 2.4/5GHz RF Transceiver IP
Vendor
T2M GmbH
Type
Silicon IP
Files
Note: some files may require an NDA depending on provider policy.
Provider
T2M GmbH
T2M GmbH is the leading Global Technology Company supplying state of the art complex semiconductor connectivity IPs and KGDs, enabling the creation of complex connected devices for Mobile, IoT and Wearable markets.
T2M's unique SoC White Box IPs are the design database of mass production RF connectivity chips supporting standards including Wifi, BT, BLE, Zigbee, NFC, LTE, GSM, GNS. They are available in source code as well as KGD for SIP / modules.
With offices in USA, Europe, China, Taiwan, South Korea, Japan, Singapore and India, T2M’s highly experienced team provides local support, accelerating product development and Time 2 Market.
Learn more about Wi-Fi IP core
Wi-Fi 7 (IEEE 802.11be) & MLO vs. Wi-Fi 6/6E (IEEE 802.11ax): What to Ask for Optimal Design Considerations
Franz Dugand, Ceva
How to achieve better IoT security in Wi-Fi modules
A look at the architecture of Wi-Fi modules and the opportunities for designers to improve IoT device and network security by using the resources available in these modules.
Designing a Wi-Fi HaLow Baseband in Less than Six Months
Protecting Wi-Fi chipsets with hardware-based security cores
CEVA's XC12 DSP Core Targets Multi-Gbit Cellular, Wi-Fi Opportunities
Frequently asked questions about Wi-Fi IP cores
What is Dual band WiFi N/G/B/A 2.4/5GHz RF Transciever IP?
Dual band WiFi N/G/B/A 2.4/5GHz RF Transciever IP is a Wi-Fi IP core from T2M GmbH listed on Semi IP Hub.
How should engineers evaluate this Wi-Fi?
Engineers should review the overview, key features, supported foundries and nodes, maturity, deliverables, and provider information before shortlisting this Wi-Fi IP.
Can this semiconductor IP be compared with similar products?
Yes. Buyers can compare this product with similar semiconductor IP cores or IP families based on category, provider, process options, and structured technical specifications.