Vendor: Syntill8 Ltd. Category: MCU

M8051EW V3.0+ Fast 8-bit Microcontroller with on-chip debug

The M8051EW V3.0 is a configurable softcore implementation of the industry standard 8051 microcontroller that features a two-cloc…

Overview

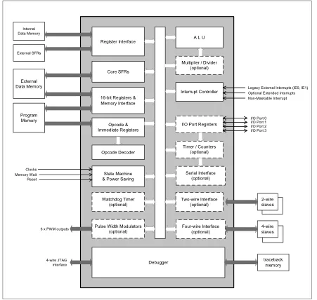
The M8051EW V3.0 is a highly configurable softcore implementation of the industry standard 8051 microcontroller that features a two-clocks-per-machine cycle architecture. Use of standard synchronous design methodology makes this core simple to integrate into both ASIC and FPGA SoC designs.

The M8051EW V3.0 includes many key enhancements and product updates when compared to the Mentor Graphics M8051EW+ core offered by IPextreme. All product enhancements and support services of the M8051EW offered by Syntill8, as well as design services, are provided by the original M8051EW IP architect.

Three additional peripheral cores that available for use with the M8051EW include the M2WIS (a two-wire slave interface), the M4WIS (a four-wire slave interface) and the UDPMAC (a 1Gbps Ethernet MAC with an RGMII interface).

Key features

  • Binary and Memory cycle compatible with the Intel 8051•
  • Optional conditional branch acceleration
  • Up to eight 16-bit data pointers
  • 25-input, five level interrupt controller
  • Optional full implementation of legacy peripherals: 32 GPIO ports, 3 16-bit counters and full-duplex serial port Watchdog timer
  • 2-wire and 4-wire master interfaces
  • Pulse width modulator array
  • Flexible interfacing options for external peripherals Power saving modes: powerdown, stasis, idle and run
  • Fast 2-clocks per machine cycle implementation
  • Richly featured hardware debugger: multiple breakpoints, instruction traceback, single step execution. Full access to all address spaces
  • 1Mbyte program and data address spaces
  • Memory interfaces all support wait states and may be configured for synchronous or asynchronous devices
  • Optional de-multiplexed program and data interfaces
  • Optional single machine cycle memory accesses

Block Diagram

Benefits

  • The core RTL is highly configurable at compile time allowing users to implement only the features required by their application.
  • Major configuration options include:
  • Combined program and data address space or Harvard architecture
  • Optional 20-bit (1Mbyte) extended memory addressing scheme with additional stack
  • 1, 2, 4 or 8 16-bit data pointers
  • Each memory component may use a synchronous or asynchronous interface
  • Hardware multiplier/divider is optional
  • Up to 25 interrupt sources with up to 5 priority levels
  • All peripherals are optional and may be excluded if not required
  • Debug traceback depth and number of hardware triggers are selectable
  • The core includes the following configurable peripherals as standard:
  • Three timer/counters
  • Legacy UART
  • Watchdog timer
  • Two-wire master interface
  • Four-wire master interface
  • Pulse width modulator array, with ramping option
  • All non-legacy peripherals include a configurable clock prescaler, and configurable base addresses and interrupt channels.
  • The M8051EW offers three power saving states.These are implemented by dividing the core logic into several synchronous clock domains using optional clock gates. These reduce power consumption by 75% in the idle state and to leakage levels in the stasis and powerdown states.

What’s Included?

  • VHDL '93 and Verilog 2001 RTL source code
  • RTL configuration script
  • VHDL and Verilog testbenches
  • Demonstration assembly code
  • Simulation scripts for Modelsim and Cadence
  • Synopsys synthesis compile scripts and SDC timing constraint files
  • Example Mentor DFT and ATPG scripts
  • Example netlist implementation with SDF files
  • Detailed product specification and a user guide containing implementation notes

Files

Note: some files may require an NDA depending on provider policy.

Specifications

Identity

Part Number
M8051EW - 249741
Vendor
Syntill8 Ltd.
Type
Silicon IP

Provider

Syntill8 Ltd.
HQ: United Kingdom
WE CREATE AND LICENSE MICROCONTROLLER INTELLECTUAL PROPERTY, SUPPORTING MODULES AND PROVIDE CONSULTING SERVICES TO THE SEMICONDUCTOR INDUSTRY. The Syntill8 family of microcontroller IP, originally designed for Mentor Graphics Corporation, has a long established reputation with the blue chip semiconductor manufacturers and start-ups alike, for quality, reliability and ease of use. Having been used in hundreds of ASIC and FPGA designs since 1996, the cores have seen thorough verification in a wide variety of applications. All these designs are silicon proven with countless tape outs over many years. They are maintained to keep step with developments in the EDA environment and synchronous design methodology so they remain simple to adopt and integrate into both ASIC and FPGA design flows. Our products are 8051-compatible 8-bit microcontrollers, designed to be precisely software and cycle compatible with the world's most popular microcontroller architecture. This architecture often yields the most simple and efficient solution to many of today's microcontroller applications.

Learn more about MCU IP core

Frequently asked questions about MCU IP cores

What is M8051EW V3.0+ Fast 8-bit Microcontroller with on-chip debug?

M8051EW V3.0+ Fast 8-bit Microcontroller with on-chip debug is a MCU IP core from Syntill8 Ltd. listed on Semi IP Hub.

How should engineers evaluate this MCU?

Engineers should review the overview, key features, supported foundries and nodes, maturity, deliverables, and provider information before shortlisting this MCU IP.

Can this semiconductor IP be compared with similar products?

Yes. Buyers can compare this product with similar semiconductor IP cores or IP families based on category, provider, process options, and structured technical specifications.

×
Semiconductor IP