Vendor: Syntill8 Ltd. Category: MCU

M8051 8-bit Microcontroller

The M8051 is a configurable soft-core implementation of the industry standard 8051 microcontroller that features a clock compatib…

Overview

The M8051 is a configurable soft-core implementation of the industry standard 8051 microcontroller that features a clock compatible twelve clocks per machine cycle architecture. This microcode-free design is software compatible (including instruction execution times) with industry standard discrete devices, having all their core features, and the additional features corresponding to the Intel 8051/8031/80C51BH/80C31BH/87C51 parts except that ONCE mode and Program Lock are not supported. The use of standard synchronous design methodology makes this core simple to integrate into both ASIC and FPGA SoC designs.

Key features

  • Binary and memory cycle compatible with Intel 8051, 8031, 80C51, 80C31, 80C31BH and 87C51
  • 5-input, five level interrupt controller 32 GPIO ports
  • Two 16-bit counter timers
  • Classic 12-clock machine cycle implementation
  • Up to 64Kbytes program and external data address spaces
  • Full-duplex serial port
  • Flexible interfacing options for external peripherals, including support for external SFRs, five of which may be bit- addressable
  • Up to 256 bytes of internal data memory
  • Support for memory banking extensions
  • Power saving modes: powerdown and idle
  • Program memory download mode
  • Fully synthesizable and Scan test ready

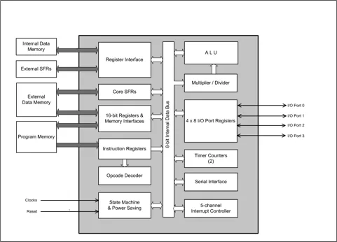
Block Diagram

Benefits

  • The core RTL is highly configurable at compile time allowing users to implement only the features required by their application.
  • Major configuration options include:
  • Combined program and data address space or Harvard architecture
  • Code memory size
  • External data memory size
  • Internal data memory size
  • The M8051 offers two power saving states. In the idle state the CPU is stopped while the peripherals continue to run. In the powerdown state all clocks are stopped. These are implemented by dividing the core logic into several synchronous clock domains using optional clock gates. These reduce power consumption by 75% in the idle state and to leakage levels in the powerdown state. The microcontroller can be awoken from the idle state using interrupts.
  • The core runs all standard 8051 binary code. Syntill8 recommends Keil C51 and IAR Systems compilers for code development.

What’s Included?

  • VHDL '93 and Verilog 2001 RTL source code • VHDL and Verilog testbenches
  • Demonstration assembly code
  • Simulation scripts for Modelsim and Cadence • Example Synopsys synthesis compile scripts and SDC timing constraint files
  • Example Mentor DFT and ATPG scripts
  • Example netlist implementation with SDF files • Detailed product specification and a user guide containing implementation notes

Files

Note: some files may require an NDA depending on provider policy.

Specifications

Identity

Part Number
M8051 - 66314
Vendor
Syntill8 Ltd.

Provider

Syntill8 Ltd.
HQ: United Kingdom
WE CREATE AND LICENSE MICROCONTROLLER INTELLECTUAL PROPERTY, SUPPORTING MODULES AND PROVIDE CONSULTING SERVICES TO THE SEMICONDUCTOR INDUSTRY. The Syntill8 family of microcontroller IP, originally designed for Mentor Graphics Corporation, has a long established reputation with the blue chip semiconductor manufacturers and start-ups alike, for quality, reliability and ease of use. Having been used in hundreds of ASIC and FPGA designs since 1996, the cores have seen thorough verification in a wide variety of applications. All these designs are silicon proven with countless tape outs over many years. They are maintained to keep step with developments in the EDA environment and synchronous design methodology so they remain simple to adopt and integrate into both ASIC and FPGA design flows. Our products are 8051-compatible 8-bit microcontrollers, designed to be precisely software and cycle compatible with the world's most popular microcontroller architecture. This architecture often yields the most simple and efficient solution to many of today's microcontroller applications.

Learn more about MCU IP core

Frequently asked questions about MCU IP cores

What is M8051 8-bit Microcontroller?

M8051 8-bit Microcontroller is a MCU IP core from Syntill8 Ltd. listed on Semi IP Hub.

How should engineers evaluate this MCU?

Engineers should review the overview, key features, supported foundries and nodes, maturity, deliverables, and provider information before shortlisting this MCU IP.

Can this semiconductor IP be compared with similar products?

Yes. Buyers can compare this product with similar semiconductor IP cores or IP families based on category, provider, process options, and structured technical specifications.

×
Semiconductor IP