Vendor: Digital Blocks, Inc. Category: Display Controller

Display Controller – Ultra HD LCD / OLED Panels (AXI4/AXI Bus)

The DB9000AXI4-UHD LCD Controller IP Core interfaces a video image in frame buffer memory via the AMBA 3.0 / 4.0 AXI Protocol Int…

Overview

The DB9000AXI4-UHD LCD Controller IP Core interfaces a video image in frame buffer memory via the AMBA 3.0 / 4.0 AXI Protocol Interconnect to an 4K/8K TFT LCD / OLED display panel.

The video image in frame buffer memory can be 8/10/12-bit 4:2:0 or 4:2:2 or 4:4:4 sampled YCrCb video or 4:4:4 RGB. For 4:2:0 and 4:2:2 YCrCb, the chroma components are re-sampled to 4:4:4 and color converted to RGB.

Based on the DB9000AXI4 expertise with 1920 x 1080p Full HD LCD panels, the DB9000AXI4-UHD scales to manage multi-quadrant high definition LCD panels.

The DB9000AXI4-UHD IP Core can be implemented in an ASIC, ASSP, or FPGA device with an embedded microprocessor, an AMBA AXI Interconnect fabric, and SDRAM Controller for access to frame buffer memory. Typically, the microprocessor is an ARC, ARM, Intel, MicroBlaze, MIPS, RISC-V, NIOS II, OpenSPARC, PowerPC, or Tensilica processor and frame buffer memory is off-chip DDR3 / DDR4 SDRAM.

Key features

  • 3840 x 2160 and 7680 × 4320 TFT LCD / OLED Display Panel support 
  • Additional High Resolution support: 
    •  Digital Cinema Systems (DCI) 4096 x 2160, 2048 x 1080 2K image, & Cinema Scope HD 2560 x 1080 
    •  4096x2560, 3840x2160, 2560x2048, 2048x2048, 2048x1536,  1920x1200,  1920x1080, 1680x1050, 1600x1200 
    •  1600x900, 1440x900, 1366x768, 1280x1024, 1280×768, 1080x1920, 1024x768, 1024x600, 1024x576, 960x540, 800x600, 800x480 
  • High-Resolution TFT LCD Panel support features by AXI Protocol: 
    •  Up to 16 overlap outstanding reads requests to the SDRAM Controller 
    •  Quality of Service (QoS) Support (AXI4) 
    •  Programmable burst lengths up to 16 beats (AXI3) & 256 beats (AXI4) 
    •  Wide AXI Master Port data width, up to 256-bits  
  • Optional Features: 
    •  Video / Graphics Base Screen with up to 16 Overlay Windows 
    •  αRGB Alpha Blending 
    •  Color Space Conversion with Chroma Resampler 
  • Interface for 1,2, 8 Port TFT LCD Panel: 
    •  24-bit digital (8 bits/color) LVDS / CMOS  
  • Interface to LVDS, DVI, HDMI, & DisplayPort Transmitters / Receivers  
  • Programmable frame buffer bits-per-pixel  (bpp) color depths:  
    •  8,  10, 12 bits    4:2:2 / 4:4:4 sampled YCrCb 
    •  16, 18, 24 bits    RGB 
  • Color Palette RAM to reduce Frame Buffer memory storage requirements and AXI Bus bandwidth (for lower color applications): 
    •  256 entry by 16-bit RAM, implemented as 128 entry by 32-bits 
    •  Loaded via the Slave Bus Interface statically by the microprocessor or the Master Bus Interface dynamically with each frame by the DMA controller 
  • Programmable horizontal timing parameters: 
    •  horizontal front porch, back porch, sync width, pixels-per-line 
    •  horizontal sync polarity 
  • Programmable vertical timing parameters: 
    •  vertical front porch, back porch, sync width, lines-per-panel 
    •  vertical sync polarity 
  • Programmable pixel clock:  
    •  pixel clock divider from 1 to 128 of Bus Clock 
    •  pixel clock polarity 
  • Programmable Data Enable timing signal:  
    • Derived from horizontal and vertical timing parameters 
    •  display enable polarity 
  • AMBA AXI4 / AXI3 Interconnect: 
    •  Selectable 256 / 128 / 64 AXI Master Port for DB9000AXI4 DMA access of frame buffer memory for driving the display 
    •  Selectable 256 / 128 / 64 AXI or AXI4-Lite Slave Port for control & status interface to microprocessor 
  • Three memories: 
    • N-word x 256 / 128 / 64 bit input FIFO, decoupling AXI bus & LCD panel clock rates. Integrated with DMA controller 
    •  256-word x 24-bit Color Palette RAM 
    •  16-word output FIFO 
    •  FIFOs parameterizable in depth and width 
  • Power up and down sequencing support 
  • 9 sources of internal interrupts with masking control 
  • Little-endian, big-endian, or Windows CE mode 
  • AXI4 Bus  - Designed to AMBA AXI Protocol Specification (V2.0) 
  • AXI3 Bus  - Designed to AMBA AXI Protocol Specification (V1.0) 
  • Support in following Integrated Circuits: 
    •  ASIC / ASSP with AXI fabric 
    •  Altera or Xilinx FPGA with AXI fabric 
  • Fully-synchronous, synthesizable Verilog RTL core, with rising-edge clocking, No gated clocks, and No internal tri-states. 

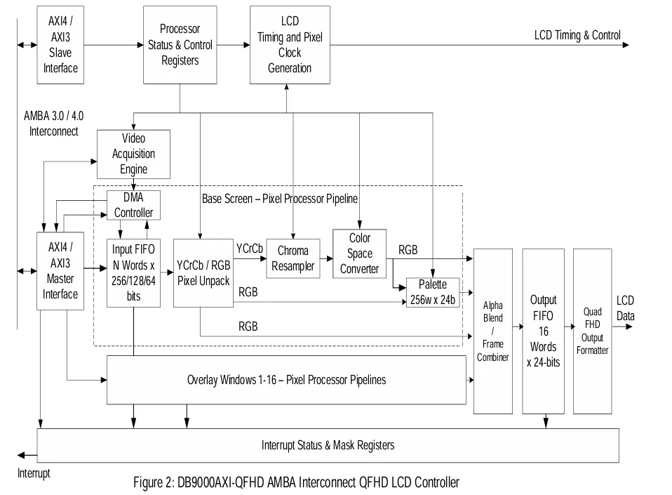
Block Diagram

What’s Included?

  • The DB9000AXI4-UHD is available in synthesizable RTL Verilog, along with a simulation test bench with expected results, datasheet, and user manual.

Files

Note: some files may require an NDA depending on provider policy.

Specifications

Identity

Part Number
DB9000AXI-UHD
Vendor
Digital Blocks, Inc.
Type
Silicon IP

Provider

Digital Blocks, Inc.
HQ: USA
Digital Blocks architects, designs, verifies, and markets semiconductor Intellectually Property (IP) cores to worldwide technology systems companies. The company's expertise is in Embedded Processor & Peripherals, Display Controller, Display Link Layer, 2D Graphics, Image Compression, Audio / Video Processing, and High-Speed Networking / A/V Networking & Routing / High-Frequency Trading Networking.

Learn more about Display Controller IP core

The whys and hows of secure boot

With the proliferation of Internet of Things (IoT) devices, which now span just about every walk of life, from smart cities to wireless jewellery, the need to prioritize security in IoT-style embedded systems has never been greater. The secure boot process is a vital first step in securing any embedded system, a necessary part of your application’s anti-malware fortress. Let’s take a look at the pros and cons, with a focus on one of the most popular processors in electronics – the i.MX6.

Motion Picture: a Reality on Emulation Platform

In present day’s situation, whenever we are in the phase of designing a cluster SoC, we have no reliable way of verifying our design in real case scenarios, or showcase the possibilities of our design through any demos. This, sometimes, paves way for critical design bugs which requires re-spins/cuts.

Sequential clock gating maximizes power savings at IP level

In this paper we talk about design exploration using the PowerPro tool. For analysis of power optimization based on this tool, we have included Advanced Driver Assistance System (ADAS) and cluster IPs with high speed processing requirements. These IPs have multiple complex operation requirements within a clock period, making them ideal candidates for power saving. The IPs under consideration are image processors, high-speed bus fabrics for a memory controller, display controllers, and video codecs.

Frequently asked questions about Display Controller IP

What is Display Controller – Ultra HD LCD / OLED Panels (AXI4/AXI Bus)?

Display Controller – Ultra HD LCD / OLED Panels (AXI4/AXI Bus) is a Display Controller IP core from Digital Blocks, Inc. listed on Semi IP Hub.

How should engineers evaluate this Display Controller?

Engineers should review the overview, key features, supported foundries and nodes, maturity, deliverables, and provider information before shortlisting this Display Controller IP.

Can this semiconductor IP be compared with similar products?

Yes. Buyers can compare this product with similar semiconductor IP cores or IP families based on category, provider, process options, and structured technical specifications.

×
Semiconductor IP